如何处理球磨机中空轴瓦发热问题,陈国源认为:无论新旧球磨机,一旦出现中空轴瓦温度突然升高,甚至发烫厉害、冒烟等现象时,不可紧急停车,因为这时轴瓦的油膜已被破坏,轴颈和轴瓦直接接触,很容易发生撕脱粘附现象,易造成重大设备事故。首先应紧急停止向磨内加料,同时设法开大窜水瓦的冷却水或者直接向中空轴上浇润滑油,尽量降低轴瓦温度后方可停磨。
对于旧磨机来讲,中空轴瓦的发热原因几乎都与冷却水、润滑油有关。一种情况是冷却不好,这是由于球磨机在运转几年后,始终未对窜水瓦冷却水管进行清洗,管内严重积垢,水管已失去或者部分失去冷却作用从而发热。对于这种情况,应用浓盐酸清洗窜水瓦冷却水管使冷却水保持畅通。另一种情况是润滑的问题,如很长时间未补充润滑油或清洗更换润滑油,带油圈分油板带油或者分油不均,油泵泵出的油无压力等。对于这种情况应视具体问题不同而采取补充润滑油、清洗换油、修带油圈分油板、更换油泵配件等措施,使之达到良好的润滑状态。
新装球磨机中空轴瓦的发热原因比较复杂,一般有如下几种情况。
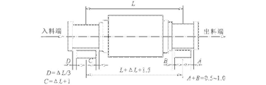
①球磨机滑动端(入料端)的轴肩间隙不够而引起的轴瓦发热,并且是在轴向力的作用下两块瓦同时发热。出现这种情况是由于安装球磨机时,安装单位未考虑球磨机在运转时产生的热膨胀量 L,只按设备基础图中所标的两轴承纵向中心距安装。解决办法只有拆除一端中空轴承的底座基础(一般取非传动端),重新安装使球磨机符合图1.40所示的轴肩间隙就可降低轴瓦温度。

图1.40 球磨机轴肩间隙示意图
②轴瓦刮研精度不够产生发热。对于这种情况,就要取出轴瓦重新刮研。先刮研轴瓦的接触点使之在每25mmX25mm方框内有6~8个点,同时兼顾中空轴与球面瓦的侧间隙,侧间隙没有或者太小,会影响轴的润滑效果,一般中空轴与轴瓦的侧间隙一定要保持在中空轴直径的0.001~0.0015倍之间,并且使中空轴与轴瓦的接触角保持在75°~90°范围之内。
③传动不平衡,引起机体振动,影响轴瓦油膜形成而使轴瓦发热。这种情况主要是传动轴纵向中心线与磨体纵向中心线不平行而造成。处理调整原则应以传动轴纵向中心线平行于磨体纵向中心线为基准,并适当考虑牙轮的咬合情况。
④润滑油的牌号选择不当,粘度过大不能进入中空轴瓦,过小在中空轴瓦形不成压力油膜起不到润滑冷却作用。对于这种情况,只要换上粘度合适的润滑油就能消除轴瓦的发热现象。
摘自:林宗寿编著《水泥“十万”个为什么》,武汉理工大学出版社